A vehicle on a hill with the HUTrv DEKPOD prototype attached. The sun is setting in the background.

Ready for something different?

The Hybrid Utility Trailer Vision...

The original HUTrv® concept came from a simple idea to make a tow-vehicle more 'connected' to it's trailer and in turn for the a trailer to be 'multi-purpose', serving both utilitarian and recreational needs.

As a result our patented DEKPOD™ invention was born.... an ingeniously simple dual expanding design for trailers which uses obsolete drawbar space to create an enlarged living space, along with diverse storage & amenity options, whilst maintaining convenient tow-vehicle rear storage access.

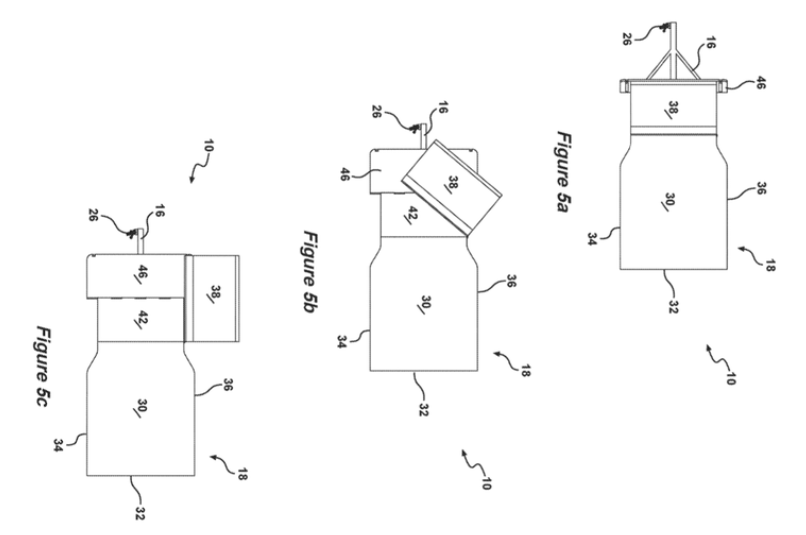
Patent drawings for the DEKPOD Simple Expanding Floor and Side Storage Module Design.
Simple Expanding Floor and Side Storage Module Design

Benefits of DEKPOD™ Innovation

  • Quick Opening

    Simply lower the front floor/guard and swing out the side expanding module.

  • Unrivalled Access

    Easy access to tow vehicle rear storage from the expanded floor area.

  • Efficient Storage

    Clam shell design enables maximum use of available space and easy packing.

  • Ablutions Ready

    Sump floor facilitates collection of grey water when shower/toilet incorporated.

  • Off-Road Friendly

    Drawbar clearance is maintained along with integrated stone/mud front guards.

  • Scaleable & Versatile

    Able to vary size and features for multiple trailer types & applications.